le 17 mai 2010 - 14h07

Le futur made in Apple

A
soutenir
le-futur-made-in-apple

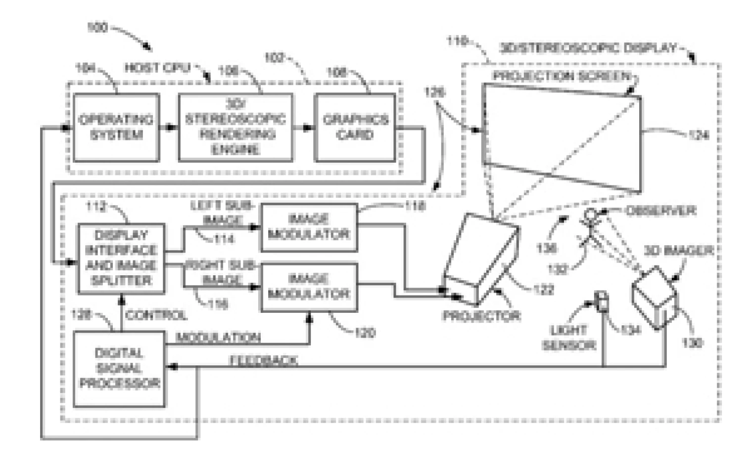
L’interface holographique tactile 3D, qui nous avait épaté dans Minority Report, pourrait prochainement quitter le domaine de la science‑fiction et du cinéma. C’est en tout cas ce que suggère un brevet nommé « Système d’affichage tri‑dimensionnel » (cf. schéma ci‑dessous), déposé cette année par la firme Apple aux États‑Unis.
Diffusée via un projecteur, l’interface se passe de lunettes 3D. Un capteur localise en effet la position des spectateurs présents pour adapter l’affichage en temps réel. Ce même capteur détecte également le mouvement des mains, permettant à chacun d’interagir avec les éléments holographiques de l’interface.
Les possibilités d’une telle technologie laissent entrevoir des applications alléchantes, tant au niveau professionnel que des loisirs. Films et jeux vidéo seront sans nul doute les premiers à adopter ce support interactif 3D, multi‑utilisateur et dénué d’encombrantes et coûteuses paires de lunettes. Vivement demain !

soutenir
pour continuer
Chaque semaine, recevez l’actualité tech et culture
Inscrivez-vous
Recevez l’actualité tech et culture sur la Newsletter cesar
Inscrivez-vous
OK
Non merci, je suis déjà inscrit !